开云体育(中国)官方网站文章权归第一财经总共-开云「中国」kaiyun网页版登录入口
发布日期:2026-02-14 16:56 点击次数:89

国星光电本日跌8.07%,成交额26.16亿元,换手率37.40%开云体育(中国)官方网站,盘后数据清楚,三机构专用席位净买入1.47亿元,佛山系席位净卖出1.36亿元。
举报 第一财经告白配合,请点击这里此本体为第一财经原创,文章权归第一财经总共。未经第一财经籍面授权,不得以任何状貌加以使用,包括转载、摘编、复制或确立镜像。第一财经保留细致侵权者法律牵扯的权力。 如需获取授权请关系第一财经版权部:021-22002972或021-22002335;banquan@yicai.com。 有关阅读
沃尔核材本日涨停 三机构净买入2.12亿元沃尔核材本日涨停 三机构净买入2.12亿元
0 6小时前
海能达本日涨停 一机构净买入1.05亿元海能达本日涨停 一机构净买入1.05亿元
0 12-18 16:41
国光电器本日跌停 四机构净买入1.55亿元国光电器本日跌停 四机构净买入1.55亿元
0 12-16 16:27
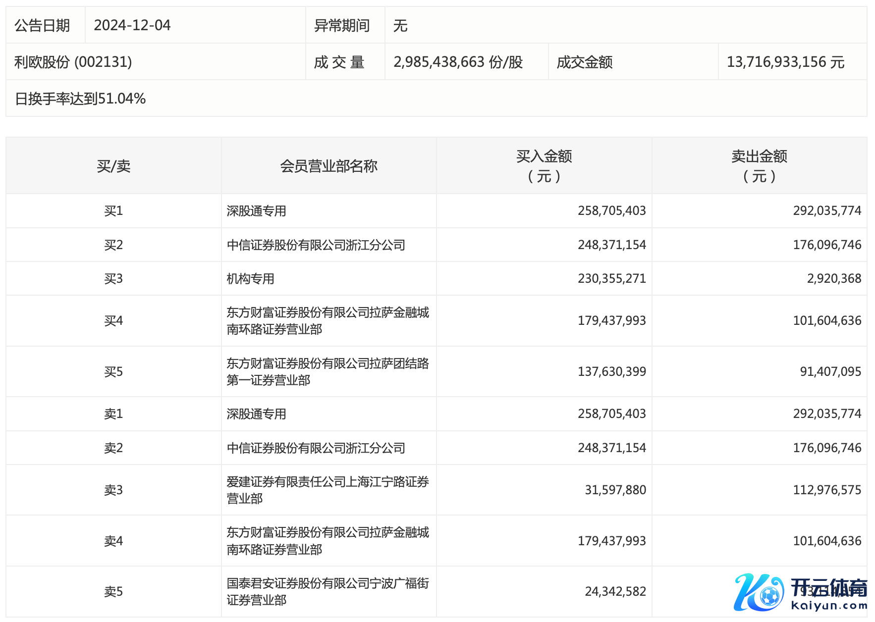
利欧股份本日涨停,一机构净买入2.27亿元利欧股份本日涨停,一机构净买入2.27亿元
19 12-04 16:44
酷特智能本日跌10.9% 三机构净卖出1.06亿元开云体育(中国)官方网站酷特智能本日跌10.9% 三机构净卖出1.06亿元
0 11-21 16:24 一财最热 点击关闭